Reliable positioning in potentially explosive environments
The European Union has set the 2020 target of 20 percent clean energy. That These 20 percent must be obtained from renewable energy sources. On the one hand, this goal aims to relieve the environment and, on the other hand, to reduce the dependency on oil. However, the fields of use of oil are diverse, so oil is not only used as an energy source, but is also the starting material for production in various industries, e.g. Plastics production. This means that oil will continue to be one of the most important raw materials over the next decades as energy and raw materials demand increases. As the demand for oil is higher, such as the discovery of new oil wells and the price of oil is at a very high level, the lucrativeness of producing difficult-to-access oil fields, e.g. in deepwater drilling. Such holes require a very high degree of automation and the highest safety precautions. Deepwater Horizon in the Gulf of Mexico, among other things, shows what can happen. The high risk of explosion is omnipresent in petrochemical plants. Every component installed there must therefore be certified explosion-proof, such as the new AX65 rotary encoder from Hengstler.
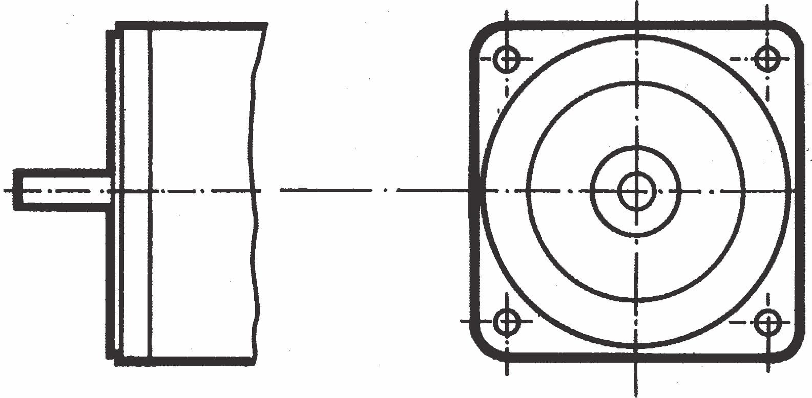
Explosion-proof rotary encoder AX65
Explosion-proof rotary encoder AX65
For many years, Hengstler, in cooperation with its customers, has gained experience and know-how in the development and application of encoders in harsh environments. The latest addition to the family of explosion-proof encoders is the AX65. It has a high IP rating (IP66 and IP67) and is certified to ATEX and IECex. The certification covers mining, dust and gas, enabling it to be used worldwide in a variety of applications such as on oil platforms, in the chemical industry or in tunnel construction.
Robust, flexible and compact
The AX65 combines the required robustness from heavy industry with the compactness of industrial encoders. Installed in a compact, corrosion-resistant 59 mm stainless steel housing, it can withstand high bearing loads up to 300 N. This means for the user that he can partly do without protective cages for the rotary encoder, which are used among other things as a stirrup, and thus saves costs. With its robust magnetic sensing and the use of a wear-free, energy self-sufficient electronic multiturn, the AX65 is extremely reliable and always delivers the correct position even after a power failure. The screw-on and thus easily removable connection cover allows easy access to the control elements and the terminal block. Through the control elements, the user can e.g. Set the baud rate and ID locally depending on the application. In addition, the encoder can be replaced separately from the cable. This is a great advantage, as on some platforms rotary encoders are mounted in 30-40 m high rigs. One can imagine that 40 m long cables are very heavy and they must be laid in cable ducts. Up to now the cable had to be completely relocated when replacing the encoder, which can be a real challenge on the high seas. The independent laying and replacement of cables and encoders not only has safety advantages in the service case but also saves decisive costs.
Applications
On today's drilling platforms the Top Drives - for German power turrets - are used. As a replacement for the more mechanically demanding turntable drives on the offshore and onshore drilling rigs, a power turret drives the drill string. The powerful prime mover is located on the upper end of the drill string during drilling, hence the name Top Drive. In order to be able to drill with the drill pipe at all, the Top Drive must be movably mounted in the mast of the drilling rig. In most cases it is moved and held by a pulley driven by the rig of the rig. An additional burden during the rotary drilling process is the transfer of the high pressure drilling fluid into the connected drill pipe. Furthermore, the Top Drive must be able to mechanically raise and simultaneously rotate the entire mass of the drill string, which can weigh over 1000 tons, by lifting action. In order to be able to precisely move the top drive together with the drill pipe, there are several rotary encoders of the type AX65 from Hengstler on the rope hoist. The AX65 measures the lift travel of the Top Drive to perform position feedback in different axes. An exact position is e.g. needed when connecting pipes of different lengths. Furthermore, the AX65 measures the length measurement in combination with cables for the travel of the Top Drive. In addition of all travel measurements, calculations of a total length of the drill string of several thousand meters in depth are possible. If the drill head is worn and needs to be replaced, the entire drill string is pulled up. This pipe is removed by pipe or after two or three pipes, the drill pipe. The drill head has the task of turning the linkage, lifting the isolated pipes and placing them in brackets laterally. Considering that a single drill pipe is only about 19 m long, it is calculable how often such operations have to take place until the worn drill head is exposed from 4000 meters depth. For such lifting operations, large, fail-safe, high-performance elevators are an important part of any drilling rig.
Lifting plant on a drilling platform

Lifting plant on a drilling platform
The elevator cranks up and down the wire rope of the pulley, which moves the top drive together with the drill string. In addition, the lift can be used to control the load on the drill bit. Hoists differ mainly in their performance, the usable rope diameter, the type of transmission (chain drive or gear transmission) and their operating mode (free-fall or 4-quadrant operation). The job of the rotary encoders flanged to the elevator drives are the exact position returns for the moving distances that result from these particularly heavy boring turret loads plus the very long drill string including the drill bit. To ensure safe operation of the procedure, the encoder must ensure accurate, fail-safe speed feedback for cable movement.
Extreme requirements on the rig
The extreme conditions are a challenge for the encoder. Here are the following highlights: the hazardous area, as well as harsh conditions such as seawater, storm, ice and snow. The rotary encoder must be built in a mechanically stable design to withstand the strong shocks and impacts that occur on a drilling platform when mounting the tubes. A safe electrical connection as well as the quick commissioning of the rotary encoder on site help to save costs and time. Every minute of downtime on the rig costs thousands of dollars.
The solution for such extreme applications is provided by Hengstler:
Rotary encoder AX65 in explosion-proof heavy duty version
With the AX65 encoder, Hengstler offers the right solution both for offshore use on drilling platforms and in other potentially explosive areas. Its explosion-proof Heavy Duty version has a high degree of protection up to IP67. Its high-quality stainless steel housing makes the AX65 resistant to aggressive seawater. Since no glass is used as a decoder disc, but the sampling is magnetic, the AX65 is particularly robust against hard shocks and vibrations. The extremely robust construction is characterized by the use of very powerful ball bearings. The bearings absorb axial and radial forces up to 300 N. The AX65 is designed for shock resistance up to 200 g. The vibration resistance was successfully tested up to 20 g. With dimensions of 70 mm and 59 mm in diameter, the AX65 is one of the most compact encoders in its class. Further advantages of the AX65:
- easy installation in the field
- easy access to the control element (DIP), which is located together with the terminal strip under the bolted stainless steel hood
- fast installation during installation or maintenance
- Choice of suitable cable on site
- In the case of service sensor and cable can be exchanged separately
The AX65 is prepared with the following bus interfaces: SSI, CANopen and Profibus. With the AX65, Hengstler has succeeded in offering a potentially explosive area encoder that not only complies with the important and globally recognized ATEX and IECex certifications, but also withstands the demands of heavy-duty use with its rugged, compact design.
Wear-free due to magnetic sensing
The AX65 encoder uses magnetic sensing for both single and multiturn. For singleturn scanning, a special Hall element detects 12-bit resolution. By default, a multiturn resolution of 12 and 16 bits is possible. To record and output the number of revolutions, the AX65 is equipped with a new electronic multiturn. This works completely energy self-sufficient, contactless and without gears and other moving components. Since no battery is used, the AX65 works completely self-sufficient.